亞洲建築專業網

新式工法立體圖

新式工法立體圖產品介紹 - 宏振工程行

新式工法立體圖產品說明

  • 新式工法立體圖
  • 0928339231
下一筆 : 普通矽藻土

公司介紹

本公司主要業務為清水模統包及混凝土壓送等工程。
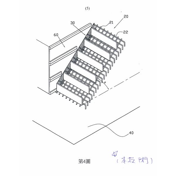
對於我們所處理之工程一向秉持兢兢業業,為提高建築物結構之強度,我們不斷研發新工法,目前我們已取得
台灣專利字號 M483971 混凝土樓梯與牆板之鋼筋結構的專利權,此工法可有效強化樓梯與牆板之連結強度及提高混凝土之結構硬度,且因為此技術之特性可在縮短灌漿之作業時間,進而縮短您的建築工時,這是一個讓您雙贏之技術工法(增加強度、縮短工時),我們期待與您合作!!

服務項目

清水模統包、混凝土壓送、混凝土整平、清水模統包清水模統包工程、混凝土壓送工程、混凝土整平工程、彰化清水模統包工程、彰化混凝土壓送工程、彰化混凝土整平工程